牙科扭转强力测试仪 牙科扭转测试仪 牙种植体抗扭性能测试仪
一、核心测试功能
抗扭性能测试
测量种植体-基台连接结构的抗扭强度,记录断裂扭矩峰值及破坏形式(如螺纹滑扣、界面分离)。
支持循环加载测试,监测长期咀嚼载荷下的扭矩衰减率。
紧固扭矩验证
对种植体施加规定值的紧固扭矩,保持5秒后观察变形/断裂,反向松开时松开扭矩需≥紧固扭矩的75%。
扩展应用
兼容根管锉、牙科手机等器械的扭力测试,分析抗弯抗扭复合性能。
二、关键技术参数
参数类别 | 指标范围 |
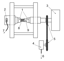
控制系统 | PLC控制系统 |
操作界面 | 彩色7寸触摸屏显示,中、英文菜单式操作,简单方便,显示直观 |
扭矩传感器 | 采用高精度扭矩传感器0-5N.m,精度0.01N.M-,旋转角度0-360°检测精度高、稳定性好、抗干扰性强(仪器触摸屏显示Nm) |
抗扭测试扭力范围 | 0-5N.m,精度0.01N.M-内外连接) |
电源 | 220V,50Hz |
设备重量 | 31.6kg |
外形尺寸 | 550*400*530(mm) |
自锁夹具 | 棘轮全金属自锁【0.8-10】[3/8螺纹接口] |
核心技术参数
1.精密减速机,传动稳、噪音小 |
2.核心传动机构选用进口精密导轨 |
3.仪器配有水平检测装置 |
4.仪器外观颜值高,美观大方、便于清洁 |
5.夹具是由优质304不锈钢制作抛光镜面处理,经久耐用 |
6.此测试项目为破坏性测试,若遇到打滑现象,可将样品打磨成三角口 |

执行标准及应用
符合标准
YY 0315-2016,ISO/TS 13498 试验等标准。
应用
用于钛及钛合金材料制成的不带表面涂层的牙种植体抗扭性能检测。
行业应用价值
质量控制:确保种植体连接界面稳定性,降低手术中基台松动或断裂风险。
研发优化:通过扭矩-角度曲线分析,改进种植体螺纹设计及材料硬度梯度。
合规认证:满足YY 0315-2023、ISO/TS 13498等标准,支撑NMPA注册检验。
测试流程
样品制备
种植体按临床规范组装基台,固定于仿骨模块(如PMMA树脂),确保无安装间隙。
每组试样≥5个,避免单点数据偏差。
测试模式选择
静态破坏测试:以1 r/min匀速加载至断裂,记录最大扭矩及刚度。
动态疲劳测试:设定扭矩范围循环加载,监测5000次后的性能衰减。
结果判定
失效标准:扭矩衰减>15%或出现可见变形/断裂。
数据输出:软件自动计算均值、变异系数及失效形式分析报告。
配置清单
主机1台;
测试软件1套;
说明书1份;
合格证1份;
保修卡1份;
签收单1份;
铭牌1块;
电源线1根;
扳手1套;
宣传册若干;
8mm气管2米
